跳至内容
南京优扬控制技术有限公司
FLOWING WITH INNOVATION
关于我们
我们的专长
产品
技术服务
技术论坛
新闻
联系方式
文章
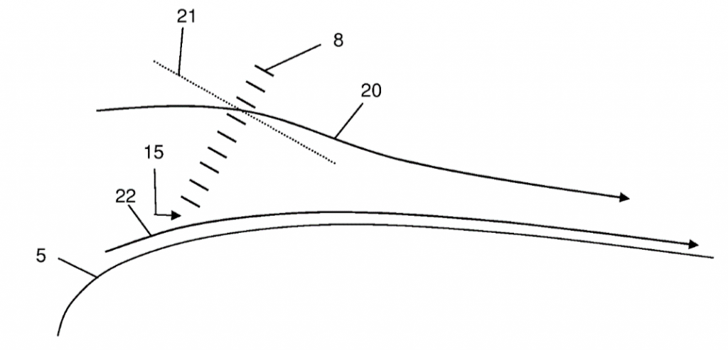
流动偏转器
4月 18, 2019
ryan
在空中客车公司支持下,研制了一种新型的高升力装置-流动偏转器,
它使得边界层重新附着在机翼表面,分离被推迟了。
国际专利:wo2001074660a1
文章导航
← 诱导阻力控制
管道流动控制与新型流量计 →
版权 © 2026 南京优扬控制技术有限公司
苏ICP备19022326号